Bonjour ,
j'ai à refabriquer des soufflet de pièce pour boite de vitesse automobile (pièce qui n'existe plus )
Caractéristiques : cette pièce est en contact avec l'huile de boite donc résistante à la température maxi 60/70°C
elle doit être souple allongement 150% a 200%,elle est complexe dans sa forme .mais l’épaisseur du soufflet ne doit dépasser 2.5 à 3mm
Diametre 35mm au plus large hauteur 40mm
Quel produit pour le moule extérieur,car le moule intérieur je pense le faire en bois ou en métal (au tour)
Quel produit pour la pièce ?? et quel produit de démoulage .
Merci de votre réponse c'est trés urgent
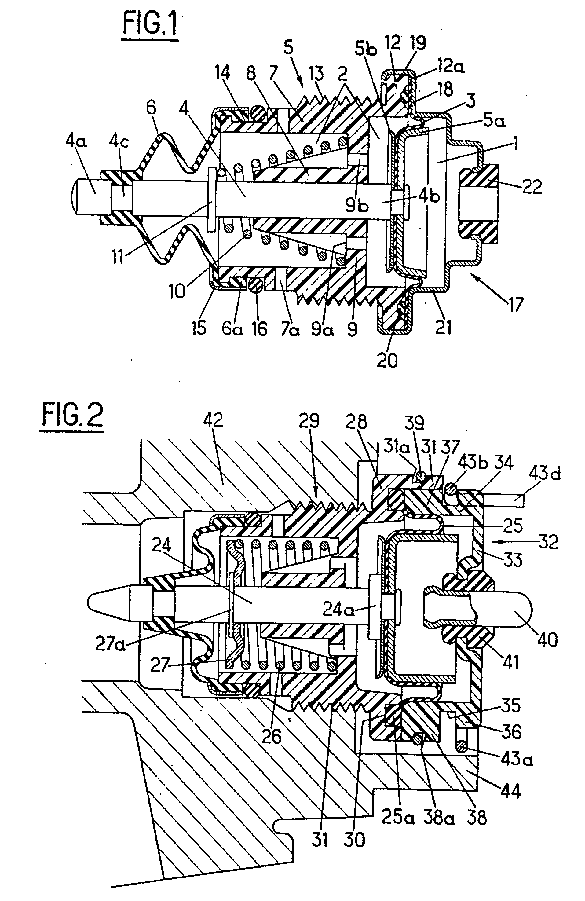
C'est la piece N° 6 figure 1
réalisation de soufflet de piece automobile
Re: réalisation de soufflet de piece automobile
A priori il vous faut un élastomère de silicone pour le moule et et un élastomère PU pour le tirage.
Il faudra effectivement utiliser un démoulant sur le noyau que vous voulez faire en "dur" pour le maintien du soufflet dans sa forme inerte je suppose.
Vous pouvez travailler le moule RTV sous chape pour avoir peu d'épaisseur à étirer au démoulage de votre future pièce.
Plastiline pour l'entrefer si vous décidez de faire un moule RTV sous chape
RTV polyaddition pour le moule destiné à recevoir un élastomère PU
Démoulant
Elastomère PU il existe du 40 shore qui devrait convenir mais attendez un autre avis pour la tenue aux hydro-carbures.
Il faudra effectivement utiliser un démoulant sur le noyau que vous voulez faire en "dur" pour le maintien du soufflet dans sa forme inerte je suppose.
Vous pouvez travailler le moule RTV sous chape pour avoir peu d'épaisseur à étirer au démoulage de votre future pièce.
Plastiline pour l'entrefer si vous décidez de faire un moule RTV sous chape
RTV polyaddition pour le moule destiné à recevoir un élastomère PU
Démoulant
Elastomère PU il existe du 40 shore qui devrait convenir mais attendez un autre avis pour la tenue aux hydro-carbures.
Isatis, goupil résineur...


Re: réalisation de soufflet de piece automobile
Merci pour votre réponse ,mais qu'entendez vous par moule RTV sous chape
Je suppose qu'il y a 2 techniques :
* celle qui consiste a couler un produit très liquide entre un moule male et un moule femelle .(avec un évent)
* l'autre qui necessite un plan de joint pour la partie femelle et faire un moulage en force autour d'une forme en bois ou acier avec un produit + ou - pâteux .
Vous m'excuserez mais dans ma formation c'était plus des moules en sable pour la fonte ....
Cordialement
Je suppose qu'il y a 2 techniques :
* celle qui consiste a couler un produit très liquide entre un moule male et un moule femelle .(avec un évent)
* l'autre qui necessite un plan de joint pour la partie femelle et faire un moulage en force autour d'une forme en bois ou acier avec un produit + ou - pâteux .
Vous m'excuserez mais dans ma formation c'était plus des moules en sable pour la fonte ....
Cordialement
Re: réalisation de soufflet de piece automobile
Allez voir sur notre site Résines et moulages des explications de base : généralités à connaitre ainsi que un topo sur les moules souples.
Dans votre cas, j'imagine qu'il faut que le master soit maintenu par un noyau intérieur rigide comme vous l'exposez en présentation.
Le master étant posé dessus vous avez plusieurs choix de coulée du RTV :
- moule bateau avec une simple boîte de coulée étanche autour de votre master qui va consommer pas mal de RTV qui formera un bloc compact, le démoulage sera un peu sportif, plus il y a d'épaisseur de RTV, plus il faut forcer pour l'étirer
- avec entrefer sous chape, il s'agit de poser une couche régulière de Plastiline sur votre master, faire une chape dessus (bandes plâtrées ou stratifié polyester) puis d'ôter la chape, ôter la Plastiline, reposer la chape et couler le RTV entre votre master et votre chape. Il faut penser à faire des plots de centrage et des évents ainsi qu'un trou de coulée au point le plus haut
- avec du RTV thixotropé qui formera une pâte à appliquer régulièrement sur l'ensemble du master, méthode la plus rapide mais qui nécessite un bon coup de main pour faire une épaisseur régulière et surtout ne pas enfermer des bulles d'air dans le RTV.
Quelle que soit la méthode utilisée il faut peut-être songer à faire le noyau intérieur en plusieurs parties pour pouvoir l'ôter facilement au moment du démoulage ; c'est par lui qu'il faut commencer à démouler car ça vous permet de faire votre moule en une seule partie, ce qui évite un plan de joint visible sur la pièce finale il me semble.
J'espère que je suis assez claire dans mes explications
n'hésitez pas à re-questionner !
Dans votre cas, j'imagine qu'il faut que le master soit maintenu par un noyau intérieur rigide comme vous l'exposez en présentation.
Le master étant posé dessus vous avez plusieurs choix de coulée du RTV :
- moule bateau avec une simple boîte de coulée étanche autour de votre master qui va consommer pas mal de RTV qui formera un bloc compact, le démoulage sera un peu sportif, plus il y a d'épaisseur de RTV, plus il faut forcer pour l'étirer
- avec entrefer sous chape, il s'agit de poser une couche régulière de Plastiline sur votre master, faire une chape dessus (bandes plâtrées ou stratifié polyester) puis d'ôter la chape, ôter la Plastiline, reposer la chape et couler le RTV entre votre master et votre chape. Il faut penser à faire des plots de centrage et des évents ainsi qu'un trou de coulée au point le plus haut
- avec du RTV thixotropé qui formera une pâte à appliquer régulièrement sur l'ensemble du master, méthode la plus rapide mais qui nécessite un bon coup de main pour faire une épaisseur régulière et surtout ne pas enfermer des bulles d'air dans le RTV.
Quelle que soit la méthode utilisée il faut peut-être songer à faire le noyau intérieur en plusieurs parties pour pouvoir l'ôter facilement au moment du démoulage ; c'est par lui qu'il faut commencer à démouler car ça vous permet de faire votre moule en une seule partie, ce qui évite un plan de joint visible sur la pièce finale il me semble.
J'espère que je suis assez claire dans mes explications
Isatis, goupil résineur...


-
LE MODELEUR
- Messages : 546
- Enregistré le : mer. 26 janv. 2011 12:36
Re: réalisation de soufflet de piece automobile
Bonjour,
pour le polyuréthane il faudrait plutôt vous orienter sur le 3450:ELASTOMERE PU 3450,NOIR 80 SHORE
Le TNT 40shore ne conviendra pas,sa résistance au déchirement ne sera pas suffisante et ce produit a une résistance chimique faible et dans votre cas le soufflet sera obligatoireement en contact avec des huiles ou des graisses.
Pour le silicone c'est le RTV238 qui sera adapté, ce produit pourra s'appliquer uniquement en coulée ou en moule bateau
Votre solution de faire le noyau en tournage me parait bonne mais il faudra prévoir un système démontable pour pouvoir sortir la partie qui forme un goulot d'étranglement.
Étant donné que vous pouvez tourner des pièces vous pouvez réaliser la forme extérieur en tournage faire le moule en silicone dessus puis ensuite reprendre au tour pour retirer l'épaisseur de pièce.
Attention aux points suivant:
-le polyuréthane n'est pas auto démoulant il faudra donc appliquer sur le noyau métallique un démoulant dédié.
-l'épaisseur de pièce ne doit pas être en dessous de 2mm pour que l'empreinte puisse se remplir correctement, l'idéal serait d'être plus proche des 3 à 4 mm.
-penser au centrage entre le noyau (moule intérieur)et le silicone(moule extérieur)pour garantir un tirage d'épaisseur.
-ce type de pièce est généralement coulé avec une résine passé sous vide pour retirer l'air contenu dans le produit, si vous n'avez pas moyen de dégazer le 3450 vous obtiendrez une pièce qui risque de présenter des imperfections(bulle en surface) et moins résistante car les bulles qui reste emprisoné dans le produit l'affaiblisse.
-Pour obtenir les pleine caractéristique mécanique plus rapidement les élastomère peuvent être étuvé pendant 6 à 8H entre 40 et 60°C, sans étuvage il convient de laisser les produits finir leur durcissement pendant au moins 7 jours avant de les soumettre à des efforts.
pour le polyuréthane il faudrait plutôt vous orienter sur le 3450:ELASTOMERE PU 3450,NOIR 80 SHORE
Le TNT 40shore ne conviendra pas,sa résistance au déchirement ne sera pas suffisante et ce produit a une résistance chimique faible et dans votre cas le soufflet sera obligatoireement en contact avec des huiles ou des graisses.
Pour le silicone c'est le RTV238 qui sera adapté, ce produit pourra s'appliquer uniquement en coulée ou en moule bateau
Votre solution de faire le noyau en tournage me parait bonne mais il faudra prévoir un système démontable pour pouvoir sortir la partie qui forme un goulot d'étranglement.
Étant donné que vous pouvez tourner des pièces vous pouvez réaliser la forme extérieur en tournage faire le moule en silicone dessus puis ensuite reprendre au tour pour retirer l'épaisseur de pièce.
Attention aux points suivant:
-le polyuréthane n'est pas auto démoulant il faudra donc appliquer sur le noyau métallique un démoulant dédié.
-l'épaisseur de pièce ne doit pas être en dessous de 2mm pour que l'empreinte puisse se remplir correctement, l'idéal serait d'être plus proche des 3 à 4 mm.
-penser au centrage entre le noyau (moule intérieur)et le silicone(moule extérieur)pour garantir un tirage d'épaisseur.
-ce type de pièce est généralement coulé avec une résine passé sous vide pour retirer l'air contenu dans le produit, si vous n'avez pas moyen de dégazer le 3450 vous obtiendrez une pièce qui risque de présenter des imperfections(bulle en surface) et moins résistante car les bulles qui reste emprisoné dans le produit l'affaiblisse.
-Pour obtenir les pleine caractéristique mécanique plus rapidement les élastomère peuvent être étuvé pendant 6 à 8H entre 40 et 60°C, sans étuvage il convient de laisser les produits finir leur durcissement pendant au moins 7 jours avant de les soumettre à des efforts.